Serial Number 88679801
602

Registration Progress

Application Filed
Nov 4, 2019
Under Examination
Approved for Publication
Published for Opposition
Registered

Re-Apply for This Trademark

This trademark is no longer active. You may be able to file a new application for the same or similar mark.
Mark:
Previous Owner: Magic Plastics, Inc.
Classes: 011

Trademark Image

Basic Information

Serial Number
88679801
Filing Date
November 4, 2019
Abandonment Date
August 13, 2020
Drawing Code
2000

Status Summary

Current Status
Inactive
Status Code
602
Status Date
Aug 28, 2020
Classes
011

Rights Holder

Magic Plastics, Inc.

03
Address
25215 Avenue Stanford
Valencia, CA 91355

Ownership History

Magic Plastics, Inc.

Original Applicant
03
Valencia, CA

Legal Representation

Attorney
James M. Duncan

USPTO Deadlines

No Upcoming Deadlines

No upcoming deadlines found for this trademark.

Application History

9 events
Date Code Type Description Documents
Aug 28, 2020 MAB2 E ABANDONMENT NOTICE E-MAILED - FAILURE TO RESPOND Loading...
Aug 28, 2020 ABN2 O ABANDONMENT - FAILURE TO RESPOND OR LATE RESPONSE Loading...
Feb 12, 2020 GNRN O NOTIFICATION OF NON-FINAL ACTION E-MAILED Loading...
Feb 12, 2020 GNRT F NON-FINAL ACTION E-MAILED Loading...
Feb 12, 2020 CNRT R NON-FINAL ACTION WRITTEN Loading...
Feb 7, 2020 DOCK D ASSIGNED TO EXAMINER Loading...
Nov 9, 2019 MDSC E NOTICE OF DESIGN SEARCH CODE E-MAILED Loading...
Nov 8, 2019 NWOS I NEW APPLICATION OFFICE SUPPLIED DATA ENTERED Loading...
Nov 7, 2019 NWAP I NEW APPLICATION ENTERED Loading...

Detailed Classifications

Class 011
plumbing components, namely, check valves
First Use Anywhere: Oct 13, 2005
First Use in Commerce: Oct 13, 2005

Additional Information

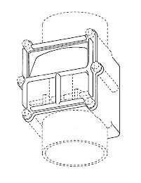
Design Mark
The mark consists of the configuration of a check valve. The check valve has a rectangular body having a clear lid forming one side of the rectangular body, the clear lid is attached to the rectangular body with six fasteners. The rectangular body is disposed between a cylindrical inlet and a cylindrical outlet. The broken lines depicting the six fasteners and the fastener housings on the body of the check valve and the cylindrical inlet and outlet indicate placement of the mark on the goods and are not part of the mark. The broken lines beneath the clear rectangular lid indicate internal structure of the goods and are not part of the mark.
Color Claim
Color is not claimed as a feature of the mark.

Classification

International Classes
011