S

Serial Number 72152340
Registration 0774495
900

Registration Progress

Application Filed
Aug 31, 1962
Under Examination
Approved for Publication
Published for Opposition
Registered
Aug 4, 1964

Re-Apply for This Trademark

This trademark is no longer active. You may be able to file a new application for the same or similar mark.
Mark: S
Previous Owner: SCHLAGE LOCK COMPANY

Trademark Image

S

Basic Information

Serial Number
72152340
Registration Number
0774495
Filing Date
August 31, 1962
Registration Date
August 4, 1964
Drawing Code
3

Status Summary

Current Status
Inactive
Status Code
900
Status Date
Nov 4, 1984

Rights Holder

SCHLAGE LOCK COMPANY

03

Ownership History

SCHLAGE LOCK COMPANY

Original Registrant
03

USPTO Deadlines

Next Deadline
3137 days remaining
Section 8 & 9 Renewal Due (Principal Register) (Based on registration date 19640804)
Due Date
August 04, 2034
Grace Period Ends
February 04, 2035

Application History

1 events
Date Code Type Description Documents
Nov 4, 1984 EXRG O EXPIRED SEC. 9 Loading...

Additional Information

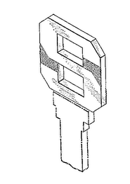
Design Mark
THE MARK IS A THREE-DIMENSIONAL TRADEMARK COMPRISING THE LETTER S FORMED ON THE BOW PORTION OF A KEY
Other
THE CROSSED LINING ON THE DRAWING REPRESENTS A ROUGHENED SURFACE OF A PORTION OF THE KEY BOW TO PROVIDE A CONTRASTING APPEARANCE